Усилитель Нортона

Post Reply
UR5FFR
Site Admin
Posts: 2314
Joined: 21 Apr 2012, 22:00
Позывной: UR5FFR
Location: Odessa

Усилитель Нортона

Post by UR5FFR »

Началось все с патента Девида Нортона [1]
norton_amp.png
norton_amp.png (17.66 KiB) Viewed 25615 times
Основные соотношения для данной схемы усилителя:
US8446217 amp.gif
US8446217 amp.gif (13.2 KiB) Viewed 29099 times
Как мы видим усилитель транслирует импеданс нагрузки ко входу в зависимости от соотношения витков трансформаторов. При этом коэф.усиления определяется трансформатором W2. При одинаковых трансформаторах усилитель транслирует импеданс нагрузки ко входу без изменения.

Другая вариация этого усилителя была обнаружена в патенте [2]. Отличается она тем, что трансформатор Т1 подключен к выходу каскада, а не к выходу всего усилителя. Ниже приведена схема и основные соотношения
EP0591032A1 amp.gif
EP0591032A1 amp.gif (13.04 KiB) Viewed 29099 times
В данной схеме исток транзистора соединен с корпусом, что позволяет использовать ее в усилителях мощности. В частности в патенте приводится следующая схема двух-тактного усилителя:
EP0591032A1 amp2.gif
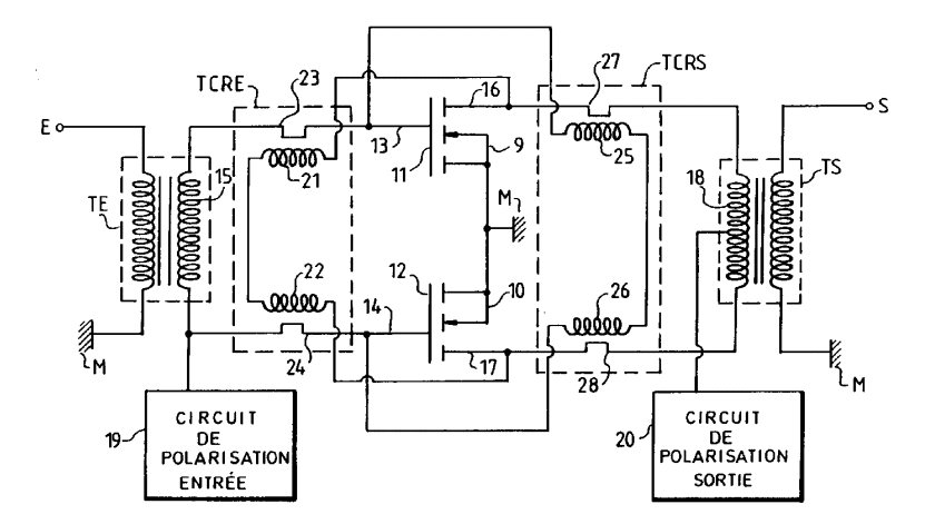
Аналогичная схема встречается в более позднем патенте [3]. Схема:
US7432764.gif
US7432764.gif (27.29 KiB) Viewed 29098 times
Литература
1. High-dynamic-range amplifier. Patent US 3624536
2. Push-pull power amplifier with transformer feedback for metric waves. Patent EP 0591032 A1
3. Push-pull amplifier with transformational negative feedback. Patent US7432764
UR5FFR
Site Admin
Posts: 2314
Joined: 21 Apr 2012, 22:00
Позывной: UR5FFR
Location: Odessa

Re: Усилитель LA8AK

Post by UR5FFR »

В серийной технике такой тип усилителя применен в TenTec Orion II в качестве отключаемого УВЧ и post-mixer amplifier
Orion II amp.gif
Orion II amp.gif (13.14 KiB) Viewed 28214 times
Post Reply